Direktlink
  • Conrad
  • Mein Konto

    Anmelden / Registrieren

  • Einkaufswagen

  • Aktuelle Angebote, Aktionen & Top-Deals – Jetzt entdecken → Aktuelle Angebote, Deals & Aktionen →
  • Service & Infos

    Vorteile & Inspiration

    • → Langzeit-Garantie

    • → Geschenkkarte

    • → Geschenkideen

    • → Newsletter

    Wissen & Aktuelles

    • → Ratgeber

    • → Conrad Blog

    • → Aktuelles

    • → Kataloge


  • Angebote

    Sparen & Angebote

    • → Aktionen

    • → SALE %

    • → Outlet

    Clever Einkaufen

    • → Haushaltsbedarf

    • → Refurbished

    • → Alle Gutscheine


    Marken im Fokus

    Logo zu TOOLCRAFT
    Logo zu Albrecht
    Logo zu Einhell
    Logo zu Bosch Home and Garden
    Logo zu dyson
    Logo zu Samsung

  • Unsere Produkte
  • Mein Konto
  • Merkliste
  • Abmelden
Conrad
Start
Automation & Pneumatik Automatisierung Schalttechnik Schütze

Siemens 3RT2016-1FB42 Leistungsschütz 3 Schließer 690 V/AC 1 St.

EAN:
Hst.-Teile-Nr.:
Bestell-Nr.:
Ein schwarzer elektrischer Schütz mit der Aufschrift 'SIEMENS SIRIUS' auf der Vorderseite, mit mehreren Anschlussklemmen.
Ein schwarzer elektrischer Schütz mit der Aufschrift 'SIEMENS SIRIUS' auf der Vorderseite, mit mehreren Anschlussklemmen.
Ein elektrisch-technischer Schrank mit offenen Kabeln und Komponenten neben einem Fenster, das von Regen bedeckt ist, durch das Maschinen sichtbar sind.
Schaltplan für Schütze: Zeigt verschiedene Schütztypen, Verbindungen und Funktionen mit Nummerierungen und Beschreibung der einzelnen Teile.
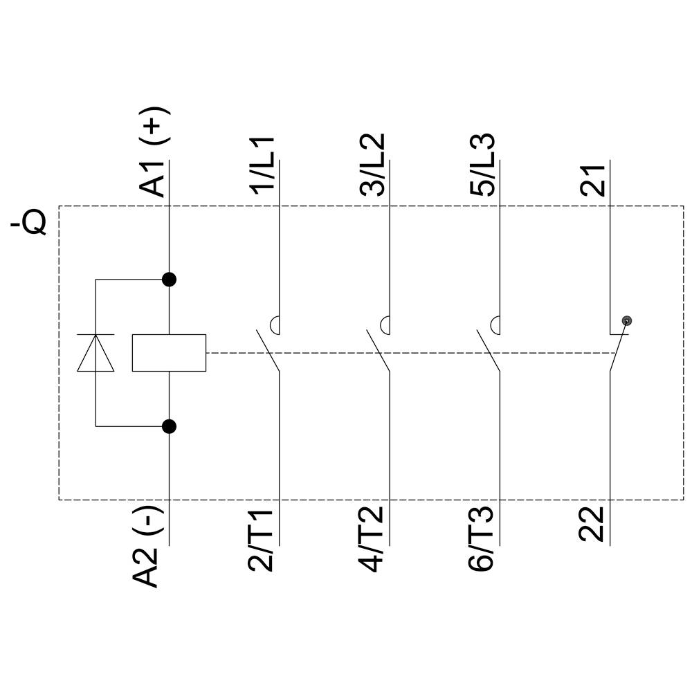
Schaltplan eines Elektromagnet-Schütz mit 6 Anschlüssen: A1, A2, 1/L1, 3/L2, 5/L3, 2/T1, 4/T2, 6/T3 und Spulensymbol.
'Technische Zeichnung eines elektrischen Bauteils mit detaillierten Abmessungen und Anschlussbeschreibungen in mehreren Ansichten.'
'Siemens Sirius' Schütz mit Anschlusspunkten für elektrische Verdrahtung und Beschriftungen zur Identifikation der Terminals.
1/6
Abbildung ähnlich
Produkt-Art
Leistungsschütz
Polzahl
3polig
Nennspannung
690 V/AC
Anschluss
Schrauben
Typ
3RT2016-1FB42
Datenblatt (PDF)
Deutsch (Deutschland)
Siemens
Bald verfügbar

Anzahl

Gesamt
CHF 68.41
zzgl. gesetzl. MwSt. 
  • Gratis Lieferung ab CHF 200.–

  • Über 1 Million Produkte

  • Über 3'500 Marken

  • Blog

Services

Services

  • Angebotsservice

  • SourcingPlus

  • Garantie Plus 24

  • Geschenkkarte

  • Project Business

  • Business+

  • E-Procurement

  • ProcurePlus

  • Alle Services


Über Conrad

Über Conrad

  • Unternehmen

  • Conrad Marken

  • Pressemitteilungen

  • Qualität

  • Umwelt

  • Rechtliches

  • Vulnerability Disclosure Program

  • Karriere

  • Sponsoring


Conrad erleben

Conrad erleben

  • Innovation News

  • Katalog / Downloads

  • Branchenlösungen

  • Ratgeber

  • Blog

  • Markenshop

  • Messen und Events


Für Bildungseinrichtungen

Für Bildungseinrichtungen

  • Alles für Ihre Bildungseinrichtung


Aktuelle Promotionen

Aktuelle Promotionen

  • ★ Zur Übersicht

  • 🎁 Geschenkideen

  • % Technik-SALE

  • % Conrad Outlet

  • % Alle Conrad Gutscheine

  • Monatsempfehlungen


Hilfe & Kontakt

Hilfe & Kontakt

  • FAQ-Hilfecenter

  • Kontaktformular


Newsletter

Bitte geben Sie eine gültige E-Mail-Adresse ein!

Newsletter

Newsletter

  • Jetzt für den Newsletter anmelden und CHF 10.- Gutschein sichern!
    Kostenlos und jederzeit kündbar
     →


Zahlarten
  • Zahlungsart Kreditkarte
  • Zahlungsart PayPal
  • Zahlungsart Vorauskasse
  • Zahlungsart Rechnung
Alle Zahlarten
Social Media

*Gewerblicher Shop: Anzeige von Nettopreisen exkl. MwSt. und Versandkosten

*Alle Preisangaben sind inkl. MwSt.

    

  • Datenschutz

  • Sichere Zahlungsmittel

  • SSL-Verschlüsselung

  • Verified Visa & Mastercard Secure Code

  • Logo zu Swiss Online Garantie
  • AGB

  • Impressum

  • Datenschutz

Produktvergleich
Merkliste